環境事業ENVIRONMENT BUSINESS
RSE集塵装置
(溜水式スクラバー)
RSE集塵装置(溜水式スクラバー)
集塵水の完全循環で排水処理の難点を解消した湿式集塵装置。
お問い合わせはこちらから
お問い合わせ窓口:環境事業第二部
TEL:03-3252-9271
RSE集塵装置の
製品概要
RSE集塵装置」は、集塵水の完全循環を最大の特長とする高性能湿式集塵装置です。
処理風量は50~1,000m3/分まで15機種を標準化。組み合わせ次第では、1,0000m3/分まで対応できます。
0.5μm以上のほとんどのダスト捕集に有効で、含塵濃度10g/m3のダストに対して排気濃度を0.1g/m3以下に抑えることが可能です。
使用する水はボールタップバルブによって自動的に給水され、蒸発水分とダストに付着して系外に持ち去られる水分のみを補給すればよいので、集塵に使用する水量も少なくて済みます。
処理風量は50~1,000m3/分まで15機種を標準化。組み合わせ次第では、1,0000m3/分まで対応できます。
0.5μm以上のほとんどのダスト捕集に有効で、含塵濃度10g/m3のダストに対して排気濃度を0.1g/m3以下に抑えることが可能です。
使用する水はボールタップバルブによって自動的に給水され、蒸発水分とダストに付着して系外に持ち去られる水分のみを補給すればよいので、集塵に使用する水量も少なくて済みます。
集塵水は完全循環で再利用するため、放流による二次公害がない
放流水がないため、使用水量が少なくて済む
0.5μm以上のほとんどのダストを捕集できる
コンパクトなので省スペース。構造が簡単なのでメンテナンスも容易
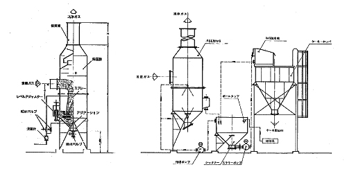
RSE集塵装置の構造
「シンプル・イズ・ベスト」をモットーに設計されたこの装置は、RSE集塵部(ケージング・内筒部・バッフル・ミスト分離器・レベルアジャスター)とコンパクト型シックナー、MS脱水機、ケーキホッパー、スラリーポンプなどで構成されており、全体が省スペース設計なので場所を選びません。

RSE集塵装置
寸法表

拡大して図をみる
RSE集塵装置の設計図
拡大して図をみる
RSE集塵装置のスペース表
拡大して図をみる