環境事業ENVIRONMENT BUSINESS
ハイブリッド湿式電気集塵機
ハイブリッド湿式電気集塵機
溜水式のスクラバー部(溜水に激しく接触させることでダストを処理する)と電気集塵部という2つの処理部を介して、ダストを含んだガスをキレイにする電気集塵機です。
お問い合わせはこちらから
お問い合わせ窓口:環境事業第二部
TEL:03-3252-9271
ハイブリッド湿式電気集塵機の
製品概要
「ハイブリッド湿式電気集塵機」は、溜水式のスクラバー部(溜水に激しく接触させることでダストを処理する)と電気集塵部という2つの処理部を介して、ダストを含んだガスをキレイにする電気集塵機です。
さまざまなダストを確実にキャッチ
ゴム、樹脂、フィルム、テープといった比較的大きなダストはスクラバー部で、鉄粉やオイルヒュームなどの小さいダストは電気集塵装置で捕集します。従来の湿式電気集塵機よりも幅広い種類のダストを確実にキャッチすることが可能です。
溜水式湿式集塵機と電気集塵機の一体化で省スペースを実現
溜水式湿式集塵機と電気集塵機を別々に導入するとなると、非常に大きなスペースが必要になります。ですが、当社のハイブリッド湿式電気集塵機ならスクラバー部と電気集塵部が一体化しているので、同規模の集塵機を2台設置するよりも省スペースが実現します。
自動洗浄方式なのでメンテナンスが容易
電気集塵部で集塵極に集められたダストはスクラバー部で発生した水ミストの水滴とともに自然流下しますが、一部残留するものもあるため、電気集塵機の運転停止後に集塵極を自動洗浄することで常にキレイな状態を保ちます。バグフィルター式集塵機のように、フィルター清掃・交換の手間やコストで悩まされることがありません。
火災のリスクが低減できるから安心
ハイブリッド湿式電気集塵機は水を使ってダストを捕集するので、火災リスクの低減にも貢献します。万が一火災が発生した場合には、機内温度検知機によって自動的に運転がストップし、水スプレーで消火が行われるので安心です。
ハイブリッド湿式電気集塵機の構造
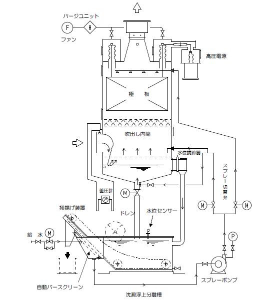
吸引口から入った汚れたガスは、まずスクラバー部で撹拌(かくはん)された水と激しく接触し、ここで比較的大きなダストが取り除かれます。その後、電気集塵部を通る際にスクラバー部で発生したミストとともにコロナ放電によって荷電され、小さなダストも分離・集塵。排気口からキレイな空気が排出されるという仕組みです。

ハイブリッド湿式電気集塵機の全体図
拡大して図をみる